| Titel: | Neuerungen auf dem Gebiete der Wellentelegraphie. |
| Autor: | Adolf Prasch |
| Fundstelle: | Band 320, Jahrgang 1905, S. 411 |
| Download: | XML |
Neuerungen auf dem Gebiete der
Wellentelegraphie.
Von Ing. Adolf Prasch,
Wien.
(Fortsetzung von S. 397 d. Bd.)
Neuerungen auf dem Gebiete der Wellentelegraphie.
Das Radioskop von S. G. Brown.
Fig. 16 stellt ein Schema dieser für den Empfang
wellentelegraphischer Nachrichten bestimmten Einrichtung, welche als Radioskop
bezeichnet wurde, dar. Der Fritter besteht hier aus einer metallischen Spitze z,
welche auf einer Stahscheibe s aufruht. Diese Scheibe
ist mit einer Telephonmembran m fest verbunden, so dass
sie deren Bewegungen folgen muss. Der Fritter ist nun in den Kreis L, z, w, R, s, E eingeschaltet; hierbei bedeutet: L den Luftdraht, w einen
Widerstand, R die Windungen eines Relais und E die Erde. Das Telephon T
dient zu Signalaufnahmen. Es ist im Nebenschlusse zu dem Widerstände w geschaltet und schliesst den Stromkreis der kleinen
Lokalbatterie b, in dem sich auch der induktive
Widerstand l befindet. Sobald der Fritter zsm durch Welleneinwirkung leitend wird, durchfliesst
der Strom der Batterie b die Relaiswindungen und legt
den Relaisanker um. Im Ruhezustand des Relais, bei dem der Anker an dem unteren
Kontakt c anliegt, durchfliesst der Strom der zweiten
Batterie b' den Widerstand w den Selbstunterbrecher S und den
Elektromagneten e. Der Selbstunterbrecher wird sonach
dauernd in Wirkung erhalten und ist daher auch der Elektromagnet e dauernd von einem vibrierenden Strom durchflössen.
Die hierdurch bedingte wechselnde Magnetisierung des Elektromagnetkernes ist jedoch,
solange der Strom durch den Widerstand w hindurchgehen
muss und geschwächt wird, zu gering, um die Membrane m
in Schwingungen versetzen zu können. Legt sich jedoch der Relaisanker um, sobald der
Fritter leitend wird, so wird der Widerstand w
ausgeschaltet und der den Elektromagneten e
durchmessende Strom hinreichend kräftig, um die Membrane zum Schwingen anzuregen und
so die Entfrittung herbeizuführen.
Textabbildung Bd. 320, S. 411
Fig. 16.
Textabbildung Bd. 320, S. 411
Fig. 17.
Textabbildung Bd. 320, S. 411
Fig. 18.
Durch das Anlegen des Relaisankers an den oberen Kontakt c' wird gleichzeitig der Stromkreis für die Batterie b2 geschlossen und
demnach auch der Anker des Elektromagneten e'
angezogen, welcher den Stromkreis für die Batterie b3 schliesst und so zum Ertönen des Weckers W, als Zeichen des Anrufes, Anlass gibt. Während
der Aufnahme von Nachrichten wird der Elektromagnet e' abgeschaltet.
Der Wellenanzeiger von L. H. Walten.
Dieser Wellenanzeiger gründet sich auf die unter gewissen Bedingungen hervorgerufene
Ueberwindung der Oberflächenspannung durch die Einwirkung elektrischer Wellen. G (Fig. 17) ist ein mit
Quecksilber gefülltes Gefäss. Auf dem Quecksilber schwimmt eine Schicht Wasser. In
dieses Gefäss ist nun die Kapillarröhre K, welche ein
dünner Platindraht P bis nahezu zur unteren Oeffnung
durchzieht, so eingesetzt, dass das Quecksilber, durch die Oberflächenspannung
gehindert, nicht in das Innere der Röhre eindringen kann. Wird diese Einrichtung der
Einwirkung von Hochfrequenzströmen ausgesetzt, so überwinden diese die
Oberflächenspannung, das Quecksilber dringt in die Röhre ein und stellt Kontakt mit
dem von der unteren Röhrenöffnung annähernd 0,05–0,1 mm entfernten Platindraht her.
Durch Schluss dieses Kontaktes wird der Stromkreis der Batterie B geschlossen und hierdurch der Anker des Relais R angezogen und die Batterie B' zur Wirkung gebracht. Der über den Drehpunkt hinaus verlängerte
Ankerhebel des Elektromagneten E trägt nun die
Kapillarröhre, so dass diese bei Ankeranziehung aus der Flüssigkeit herausgehoben
und der ursprüngliche nichtleitende Zustand wieder hergestellt wird. Der Anker kehrt
in die Ruhelage zurück und die Kapillarröhre senkt sich neuerdings wieder nach
abwärts.
Eine ähnliche Wirkung ist auch bei dem neuen Fritter von Lodge (s. D. p. J. 1904, 319, S. 655) zu
beobachten, nur mit dem Unterschied, dass hier die Oberflächenspannung eines dünnen
Oelhäutchens durch die Einwirkung der elektrischen Wellen überwunden und dieses zum
Reissen gebracht wird. Die Rückführung in den Urzustand erfolgt hierbei gleichfalls
auf mechanischem Wege, und zwar dadurch, dass die eine Fritterelektrode in
fortwährender drehender Bewegung erhalten wird.
Der Wellenanzeiger von Andrew Plecher
ist im wesentlichen ein Kapillarelektrometer und ist so
eingerichtet, dass er gleichzeitig als Empfänger wirkt, also die sonst
erforderlichen Zwischeninstrumente ausschaltet. In Fig.
18 ist M eine durch einen Luftballon in
Schwebe erhaltene Metallplatte, von welcher der Luftdraht zum Umschalter U führt.
Bei Stellung von U auf 1
ist das Kapillarelektrometer k eingeschaltet. Bei
Stellung von U auf 2
gelangt der eigentliche Empfänger k' zur Wirkung, der
ebenfalls aus einer Reihe von Elektrometern besteht. Sie werden aus Glasröhren
gebildet, deren innerer Durchmesser etwas weniger als 1 mm beträgt. Die
Kapillarkraft erhält nun einen Quecksilberfaden so in Schwebe, dass er nicht bis zum
unteren Ende der Röhren reicht. Die unteren offenen Enden dieser Röhren tauchen in
eine in dem Glasgefässe G befindliche Zyankaliumlösung,
der vorteilhaft 1 v. H. Zyansilber und 10 v. H. Kalihydrat zugesetzt wird, so tief
ein, dass diese Lösung bis zu den Quecksilberfäden reicht. Am Boden des Gefässes G befindet sich etwas Quecksilber, welches leitend mit
der Erde E in Verbindung steht. Wird der Luftdraht bei
Stellung von U auf 1 von
elektrischen Wellen getroffen, so steigt bei jedem Wellenimpuls der Quecksilberfaden
in k in die Höhe, um nach Beendigung der Einwirkung
sofort wieder in die frühere Lage zurückzukehren. Durch das Aufsteigen des
Quecksilberfadens schliesst sich nun jedesmal der Stromkreis der Batterie b und der Wecker W ertönt
zum Zeichen, dass eine Korrespondenz angebahnt werden will. In diesem Falle wird U auf 2 gestellt, so dass
nun, wie gesagt, das Elektrometer k' mit dem Luftdraht
verbunden ist. Die Kapillarröhren dieses Elektrometers sind mit dem Glasgefäss R verbunden. Ueber R
liegt, nach unten durch die elastische Membrane m
abgeschlossen, die Luftkammer R', von welcher zwei
Hörschläuche hh abgehen. Der untere Teil von R ist mit Quecksilber gefüllt, das mit den
Quecksilberfäden der Kapillarröhren in Verbindung steht. Gehen nun die im Luftdraht
durch Wellenimpulse induzierenden Hochfrequenzströme durch k', so bewirken sie ein Auf- und Absteigen der Quecksilberfäden. Diese
Bewegungen werden auf das in R befindliche Quecksilber
und durch die Membrane m auf die Luft in R' übertragen und durch die beiden Hörschläuche als
deutlich auftretende Geräusche vernehmbar.
Textabbildung Bd. 320, S. 412
Fig. 19.
Die de Forestschen Einrichtungen
zur drahtlosen Telegraphie in England. Zwischen Howth in Irland und Holyhead in England wurde
auf eine Entfernung von annähernd 120 km eine wellentelegraphische Verbindung nach
dem Systeme von de Forest eingerichtet. Bei der in Fig. 19 dargestellten Sendereinrichtung wird die mit
W bezeichnete Wechselstrommaschine und die
Erregermaschine M von einem dreipferdigen
Petroleummotor P angetrieben. Der bei 50 Wechseln in
der Sekunde erzeugte Strom von 500 Volt, geht durch die Primäre des Transformators
T. Die Sekundäre hat die gleiche Anzahl Windungen
wie die Primäre und fliesst daher in dem Sekundärkreise gleichfalls ein Strom von
500 Volt Spannung. Der erwähnte Transformator bezweckt nur eine schädliche
Rückwirkung aus dem eigentlichen Sendekreise auf die Wechselstrommaschine zu
verhüten. Der von der Sekundären ausgehende Strom geht vorerst über den Ausschalter
S zu Taste Z und über R und die Primäre des Transformators T1 zur Sekundären von T zurück. Die Taste Z ist auf einem Kasten montiert. Aus letzterem ragt
ein Hebel hervor, welcher beim Niederdrücken der Taste die Unterbrechung im Inneren
des Kastens bewirkt. Bei Anwendung einer Stromstärke bis 6 Ampere ist der Kasten nur
mit Luft gefüllt, über diese Stromstärke hinaus erfolgt hingegen die Unterbrechung
unter Oel. R, vom Erfinder Reaktanzregulator genannt,
hat den Zweck, durch Einschaltung von Windungen die Bildung eines Lichtbogens in der
Funkenstrecke F zu verhindern. Durch den Transformator
T1 wird die
Spannung für den eigentlichen Sendekreis auf 20000 Volt erhöht.
Textabbildung Bd. 320, S. 412
Fig. 20.
Textabbildung Bd. 320, S. 412
Fig. 21.
Nach de Forest soll es nicht gleichgültig sein, in
welcher Ordnung die Leydenerflaschen L aufgestellt
werden. Die günstigste Anordnung der kreisförmigen Aufstellung lässt sich praktisch
aber nur schwer durchführen, und daher hat Forest im
vorliegenden Falle die verwendeten zwölf Flaschen in zwei Reihen zu je drei
aufgestellt, diese zu je sechs hintereinander und die so gebildeten zwei Hälften
parallel geschaltet. Die Gesamtkapazität betrug sodann 0,006 Mikrofarad. Die
Elektroden der Funkenstrecke F bestehen aus
nickelplatierten Messingstäben von 12 mm Durchmesser. Die Länge der Funkenstrecke
beträgt normal 18 mm, lässt sich aber selbstverständlich nach Bedarf verändern. Die
aus vier Windungen von nickelplatiertem Kupferrohr von 6 mm Durchmesser bestehende
Spirale J1 mit einem
Spiralendurchmesser von 450 mm dient der Regulierung der Selbstinduktion im
Sendekreise, was mittels des beweglichen Kontaktes C
erfolgt. Bei der angewendeten hohen Frequenz hat schon eine sehr kleine Verschiebung
eine bedeutende Wirkung. Bei G befinden sich zwei
kleine Funkenstrecken von je 0,8 mm Länge. Die mittlere Funkenkugel ist mit C und
den Leydenerflaschen L, die linke mit dem vierfachen
Luftdrahte A und die rechte mit dem einfachen
Luftdrahte J1
verbunden. Dementsprechend sind für die Sendung, wie sich aus Fig. 19 und 21
ergibt, alle fünf Luftdrähte parallel geschaltet. Beim Empfang befinden sich
hingegen nur vier Drähte in Parallelschaltung, während der fünfte Draht mit diesen
in Serie verbunden ist. Bei der Sendung werden diese Funkenstrecken mit Leichtigkeit
überwunden, beim Empfange hingegen wirken sie isolierend. Die Empfangseinrichtung
(Fig. 20) besteht aus der veränderlichen
Selbstinduktion dem Wellenanzeiger (Responder) F, der
veränderlichen Kapazität K, dem Potentiometer P, dem Telephon T und der
unveränderlichen Kapazität K', die in der gezeichneten
Weise miteinander verbunden sind. Der Schalter S dient
dazu, die Empfangseinrichtung während der Sendung von den Luftdrähten abzuschalten.
Ist dieser Schalter auf Empfang gestellt, so gehen die einlangenden Wellen über A, S, J und K zum
Responder F und dann über MK' zur Erde. Hierdurch wird der Responder angeregt, so dass die Zeichen
im Telephon T hörbar werden. Die Kapazität K und die Selbstinduktion J dienen dazu, das System so einzustellen, dass es die kräftigste Wirkung
gibt, also dass der Empfangskreis in bezug auf seine Eigenschwingungsperiode in
möglichste Uebereinstimmung mit den einlangenden Wellen gebracht wird.
Die in Fig. 21 gesondert dargestellten Luftdrähte
haben etwa eine Höhe von 60 m und befinden sich in vorliegendem Falle mit ihrer
obersten Spitze etwas über 180 m über dem Meeresspiegel. In der halben Höhe sind
diese Drähte auf je 3 m auseinander gespreizt. Am oberen Ende sind alle fünf Drähte,
am unteren Ende hingegen nur vier Drähte metallisch miteinander verbunden. Das
verwendete Material ist verzinnter Kupferdraht. Als Hauptvorteil dieses Systems wird
angegeben, dass, so lange die Frequenz des Geberfunkens praktisch konstant erhalten
wird, keine Nachregulierung erforderlich ist, so dass auch minder geübte Beamte mit
diesem System arbeiten können. Wenn auch dieses System zu den abgestimmten Systemen
gehört, indem im Fernsprecher die von der Sendestation herrührenden Impulse, sehr
scharf von den aus anderen Ursachen herrührenden Geräuschen unterschieden werden
können, so strebt de Forest dennoch eine absolute
Abstimmung nicht an, da er der Ansicht ist, dass eine solche derzeit überhaupt noch
nicht möglich ist.
Die bei den Probeversuchen erreichte Geschwindigkeit betrug 20 bis 30 Worte in der
Minute, wobei beliebige, nicht bereits vorher ausgewählte Telegramme zur Absendung
gelangten. Die Aufnahme erwies sich als vollkommen regelmässig.
Diese auffallend grosse Telegraphiergeschwindigkeit ist nur dem äusserst
empfindlichen selbstregenerierenden Wellenanzeiger zu danken, dessen Ausgestaltung
bereits beschrieben wurde.D. p. J. S. 90 d.
Bd.
An Stelle des Telephons kann bei der erwähnten Einrichtung an den Luftdraht eine von
Nevil Maskelyne erdachte Empfangseinrichtung gelegt
werden, welche die Verwendung eines Fernschreibers oder Klopfers gestattet. Auch die
mit dieser Einrichtung erzielten Ergebnisse waren gute. Nähere Angaben über diese
Einrichtung können hier jedoch noch nicht gebracht werden, weil das betreffende
Patent noch nicht erteilt ist.
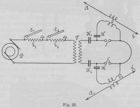
Neue Senderanordnungen von Fleming und Marconi. Diese
Anordnungen sind in Fig. 22 für die Uebertragung der
Schwingungen auf einen und in Fig. 23 auf zwei
Luftdrähte schematisch dargestellt. Es gelangen hier zwei Kondensatoren zur
Anwendung, von denen einer als wirksamer, der andere als hemmender Kondensator
bezeichnet wird.
In beiden Figuren stellt D die speisende
Wechselstromdynamo dar, deren Ströme die Primärwindungen des Transformators T durchlaufen. L1 und L2 sind regulierbare Selbstinduktionen, welche durch
die Tasten t1 und h kurz geschlossen werden können. Der Sekundärkreis
des Transformators umfasst die Funkenstrecke f und
die beiden zu dieser symmetrisch angeordneten Kondensatoren K1 und K2. Es soll zwar mit einem Kondensator gearbeitet
werden können, indessen scheint es wünschenswert, deren zwei zu gebrauchen, von
welchen jeder die doppelte Kapazität des wirksamen Kondensators K haben kann. Dieser wirksame Kondensator ist ebenso
wie die Primäre des Schwingungstransformators O in
Abzweigung zur Funkenstrecke geschaltet. Werden (Fig.
23) zwei Funkenstrecken verwendet, so sind sie in Serie zu den
Kondensatoren K1 und
K2 geschaltet. In
Abzweigung zu jeder dieser Funkenstrecken ff1 findet sich sodann je ein wirksamer Kondensator in
Verbindung mit der Primären des Wellentransformators O.
Zwei Luftdrähte A und A1, mit den Sekundären der Schwingungstransformatoren
verbunden und geerdet, schliessen das System ab.
Textabbildung Bd. 320, S. 413
Fig. 22.
Textabbildung Bd. 320, S. 413
Fig. 23.
Neue Gesichtspunkte weisen diese Anordnungen nicht auf. Sie können nur als eine
unwesentliche Abänderung der bereits früher (s. D. p. J. 1904, Bd. 319, S. 395) beschriebenen Anordnungen der gleichen
Erfinder angesehen werden.
Inwiefern diese Anordnungen eine patentfähige Neuerung darstellen sollen, lässt sich
schwer ersehen, da Aehnliches bereits von Tesla und
auch von anderen viel früher angegeben wurde. Möglicherweise bezieht sich die
Patentfähigkeit nur auf die Anordnung von Selbstinduktionen im Primärkreise, die
kurz geschlossen werden können, und die Einschaltung eines Kondensators in
Abzweigung zur Funkenstrecke. Die Einschaltung von Selbstinduktionen, die kurz
geschlossen werden, findet sich aber auch in der folgenden Einrichtung von Sylvanus Thompson.
(Fortsetzung folgt.)