| Titel: | Neuerungen auf dem Gebiete der drahtlosen Telegraphie. |
| Autor: | Adolf Prasch |
| Fundstelle: | Band 320, Jahrgang 1905, S. 75 |
| Download: | XML |
Neuerungen auf dem Gebiete der drahtlosen
Telegraphie.
Von Ingenieur Adolf Prasch,
Wien.
Neuerungen auf dem Gebiete der drahtlosen Telegraphie.
Seit dem letzten Bericht über diesen Gegenstand (D. p. J. 1903, 318, Heft 18–27) sind eine Reihe von Neuerungen auf dem
Gebiete der drahtlosen Telegraphie bekannt geworden, die der Vollständigkeit wegen
nachstehend im Zusammenhang besprochen sein mögen.
1. Die Einrichtungen der Marconi-Station für die
Ozeantelegraphie in Poldhu. In Fig. 1 ist
die schematische Anordnung der Apparate und des Stromlaufes der Ladeeinrichtung
dargestellt. Die durch eine 100 PS starke Dampfmaschine angetriebene
Wechselstromdynamo W von 50 KW Leistung bei 2000 Volt
Spannung, wirkt auf den Transformator T, welcher die
Spannung in der Sekundären s auf 20000 Volt
hinauftransportiert. In den Stromkreis der Sekundären dieses Transformators ist ein
Kondensator K, die Primärwicklung p1 eines
Teslatransformators T1
in Serie und eine Funkenstrecke f in Abzweigung
geschaltet. An diesen Schwingungskreis schliesst sich, durch die Sekundäre s1 von T1 verbunden, ein
zweiter Schwingungskreis an, welcher genau in der gleichen Weise angeordnet ist
und von welchem die Schwingungen mittels des Transformators T2 auf den Luftleiter A übertragen werden.
Textabbildung Bd. 320, S. 75
Fig. 1.
Die Kondensatoren K und K1 sind an Grösse
gleich und setzen sich aus einer Anzahl nebeneinander geschalteter Kondensatoren
zusammen. Jeder dieser Kondensatoren besteht aus zwanzig Glasscheiben, die auf beiden
Seiten mit Zinnfolie von 30 qcm belegt sind. Diese Scheiben werden in einen mit
gekochtem Leinöl angefüllten Trog in geeignetem Abstande parallel eingesetzt und die
Belege entsprechend miteinander verbunden. Jeder der beiden Kondensatoren K und K1 ist aus achtzehn bis zwanzig solcher
Einzelkondensatoren zusammengesetzt und hat eine Kapazität von annähernd ein
Mikrofarad.
Besondere Sorgfalt wurde der Isolierung der Sekundärwicklung des
Wechselstromtransformators gewidmet. Die Wicklung selbst besteht aus einer Reihe von
flachen „Kringeln“, die auf die Primärwicklung aufgewunden sind. Zur
Herstellung dieser Kringeln wird ein gut isolierter Leiter von entsprechender Länge
durch eine in der Mitte durchbohrte Ebonitscheibe geführt und zu beiden Seiten der
Scheibe in Kringelform oder in Form einer flachen Spirale so aufgewunden, dass die
Windungen auf beiden Seiten in entgegengesetztem Sinne gehen. Die einzelnen Kringel
werden sodann hintereinander verbunden und wird hierdurch eine gut isolierte
Sekundärwicklung von geringem Widerstände erhalten, die einen Kondensator von
grosser Kapazität in kurzer Zeit zu laden vermag.
Die Teslatransformatoren bestehen aus viereckigen Holz- oder Ebonitrahmen von 60–80
cm Seitenlänge, um welche die Primärwicklung gelegt ist, die aus nur einer Windung
von etwa zehn gut isolierten Kabeladern in Parallelverbindung besteht. Ueber diese
Wicklung wird die aus acht bis zehn Windungen der gleichen Kabelsorte bestehende
Sekundärwicklung gelegt und dann der ganze Transformator in einen mit Leinöl
gefüllten Trog eingesetzt.
Textabbildung Bd. 320, S. 76
Fig. 2.
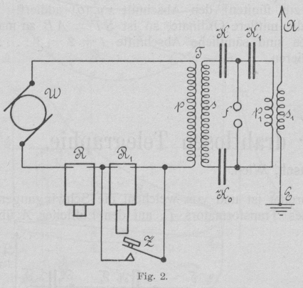
Zur Entsendung der Zeichen bedarf es bei dieser Hochspannungseinrichtung besonderer
Vorkehrungen. Namentlich ist es zum Zwecke der Ladung des Kondensators K und um die Entstehung von Schwingungen in dem
zusammengehörigen Kreise zu ermöglichen, notwendig, die Bildung eines
ununterbrochenen Lichtbogens an der Funkenstrecke f zu
verhüten. Dies wird durch die in Fig. 2 dargestellte
Anordnung erreicht. Die zwei in den Stromkreis der Wechselstrommaschine W eingeschalteten Reaktionsspulen R und R1 haben eine solche Impedanz, dass schon eine dieser
Spulen allein genügt, um den Strom dann zu unterdrücken, wenn deren Kern ganz in die
Spule eingeschoben ist. Um nun den Stromkreis so einzustellen, dass keine
Lichtbogenbildung stattfinden kann, wird der Kern der einen Reaktionsspule ganz
herausgezogen, der Kern der anderen Spule jedoch so lange eingeschoben, bis der
Lichtbogen bei f verschwindet, ohne dass jedoch die
Ladungen und Entladungen des Kondensators aufhören, was an den dauernden
regelmässigen Uebersprüngen der Funken zu erkennen ist. Die beiden
Reaktionsspulen sind aus einer Serie von aneinander gereihten flachen Scheiben
zusammengesetzt, die durch Mica-Blätter isoliert sind.
Jede Spule hat im ganzen 2000 Windungen gut isolierten Drahtes und ruht auf einer
Eisenplatte pp (Fig.
3). Die Kerne dieser Spulen bestehen aus Blättern von Eisenblech und haben die
in Fig. 3 dargestellte E-Form, wobei jedoch nur der mittlere Kern in die Spule taucht. Die
Abmessungen der Spulen haben 45 cm Höhe und 15 cm innere Weite. Die Kerne sind
gleichfalls 45 cm hoch und haben einen quadratischen Querschnitt von 10 cm
Seitenlänge. Der Zweck der Eisenplatte pp ist den
magnetischen Kreislauf zu schliessen, wenn der Kern ganz eingeschoben ist, und
hierdurch die Reaktanz der ganzen Spule zu vergrössern.
Textabbildung Bd. 320, S. 76
Fig. 3.
Diese Anordnung der Spulen hat sich aber in der Praxis als nicht vollkommen
ausreichend erwiesen und wurde daher unter Beibehaltung der Reaktionsspulen, der
Hochspannungsstrom der Sekundären des Transformators T
durch Kondensatoren K0K (Fig. 2)
unterbrochen. Diese Sicherheitskondensatoren verhindern vollständig die Bildung
eines Lichtbogens zwischen den Funkenkugeln, beeinflussen aber bei entsprechender
Regulierung die Ladung und Entladung des Kondensators K1 in keiner Weise. Die beiden
Kondensatoren K0K haben die doppelte Kapazität des Kondensators K1. Zum Zwecke der
Zeichengebung ist eine Taste Z (Fig. 2) vorgesehen, mittels welcher die
Reaktionsspule R1 kurz
geschlossen werden kann. Ist die Taste Z offen, so wird
durch R1, in welche der
Kern ganz hineingeschoben ist, der primäre Erregerstrom ganz unterdrückt, sobald die
Taste jedoch niedergedrückt ist, geht der gesamte Strom durch die Erregerspule des
unwirksam gewesenen Transformators. Die Reaktionsspule R dient zur Regulierung des Erregerstromes, je nachdem der Kern mehr oder
weniger hineingeschoben wird.
Bei den zur Anwendung gelangenden Stromstärken musste die Taste so eingerichtet
werden, dass schädliche Erwärmungen möglichst vermieden wurden. Hierzu ist die Taste
mit Ausnahme des Knopfes ganz in Vaselinöl getaucht und so eingerichtet, dass der
Strom an zehn bis zwölf Punkten gleichzeitig unterbrochen wird.
Textabbildung Bd. 320, S. 76
Fig. 4.
Textabbildung Bd. 320, S. 76
Fig. 5.
Bezüglich der Empfangseinrichtungen ist nichts besonderes zu bemerken, da sie im
wesentlichen den bekannten Einrichtungen mit der Ausnahme entsprechen, dass an
Stelle eines Fritters vielfach der bereits beschriebene elektromagnetische
Wellenempfänger von Marconi zur Anwendung
gelangte.D. p. J. 1903, 318, S. 364. Bemerkenswert ist
hingegen die Anordnung der Luftdrähte, um deren ausstrahlende Kraft zu erhöhen. Dies
liess sich nur durch Verwendung einer grösseren Zahl von Drähten erreichen, deren
Anordnung aus Fig. 4 zu entnehmen ist. Fig. 5 zeigt einen äquiperiodischen Radiator oder
Wellenstrahler von Fleming, bei welchem sämtliche
Drähte die gleiche Kapazität und Selbstinduktion haben, so dass sie gleichmässig auf
die Bildung der
elektrischen Wellen einwirken. Da dieser Radiator gleichfalls für genannte Versuche
verwendet wurde, so ist dessen Vorführung an dieser Stelle berechtigt.
Neue Arbeiten von Fessenden.D. p. J. 1903, 318, S. 326. Fessenden benützte bei seinen
Untersuchungen von ihm selbst erfundene Hilfsmittel, um die Intensität der Wirkung
an der Empfangsstelle quantitativ zu messen, und ebenso um die Stärke der
Schwingungen in der Sendestelle genau zu bestimmen. Mit diesen Apparaten wurde eine
grosse Anzahl von Messungen durchgeführt, um die Energie festzustellen, welche zur
Betätigung eines Fritters erforderlich ist. Hierbei wurde festgelegt, dass ein bis
vier Erg notwendig waren, um eine Anzeige mittels der empfindlichsten Form eines
Fritters zu erhalten. Da nun ein Telephon schon eine Anzeige bei einem Aufwände von
0,000001 Erg gibt, wurde hiermit in unzweifelhafter Weise die allgemeine Ansicht von
der wunderbaren Empfindlichkeit des Fritters widerlegt.
Dies führte auch zu weiteren Versuchen, die Empfindlichkeit der Wellenanzeiger zu
erhöhen und ist es Fessenden tatsächlich gelungen, ein
solches Instrument zu schaffen, welches auf einen Bruchteil von 1 v. H. jener
Energie anspricht, die einen Fritter zur Anregung bringt.
Die Länge der Wellen und ihrer Harmonischen wurden nun in der Weise gemessen, dass in
dem Luftdraht einer Empfangsstelle ein quantitativer Empfänger, d. i. ein solcher,
der nicht auf Spannung, sondern auf Intensität anspricht, eingeschaltet wurde. Die
Sendestelle wurde ungefähr 1,5 km entfernt an einem Orte aufgestellt, an welchem
sich die Kapazität des Schwingungssystems gegen die Erde genau bestimmen liess.
Durch Aenderung der Induktanz des Sendesystems und graphische Darstellung der
Intensität der in der Empfangsstelle erhaltenen Anzeigen, wurden nun die
verschiedenen Resonanzpunkte und die Wellenlänge des senkrechten Leiters
bestimmt.
Um den Weg, welchen die Wellen nehmen, graphisch aufzuzeichnen, wurden drei
verschiedene Apparate verwendet und zwar in erster Reihe ein senkrechter Leiter in
Verbindung mit einem quantitativen Empfänger. Diese Einrichtung in seitlicher
Richtung bewegt, liess eine Koordinate feststellen. Der zweite Apparat bestand aus
einem Bündel feiner Eisendrähte, um welche einige Windungen isolierten Drahtes
gelegt waren, in deren Kreis gleichfalls ein quantitativer Empfänger geschaltet war.
Diese Einrichtung in senkrechter Richtung bewegt, liess die zweite Koordinate
bestimmen. Versenkt man diesen Empfänger in die Erde oder in Wasser, so kann man
auch die Tiefe, bis zu welcher die Wellen in diese Medien eindringen, genau
ermitteln. Das dritte Instrument besteht aus zwei grossen Kupferdreiecken, die mit
den Scheiteln einander gegenübergestellt sind, und zwischen welchen der quantitative
Empfänger geschaltet wurde. Diese beiden Dreiecke sind mit ihrer Basis geerdet,
Diese Einrichtung ermöglicht die An- und Abwesenheit von Strömen in der Oberfläche
der Erde oder des Wassers zu beobachten.
Um den Weg, welchen die Wellen nehmen, zu ermitteln, wurde die Sendestation in einem
Boote an einem Ende einer Insel untergebracht und die Empfangsstation am anderen
Ende dieser Insel auf einem etwa 30 m in das Wasser hineinragenden Kai errichtet.
Hierbei zeigte sich, dass die Wellen längs der Oberfläche des Wassers weiter
wanderten, bis sie das Ufer der Insel erreichten. Die Intensität der Wellen nahm im
Quadrat der Entfernung ab, während ihre Höhe im einfachen Verhältnis zur Entfernung
zunahm. Hierbei wurde weder im Wasser noch in der Erde ein Strom in der Richtung der
Wellenfortpflanzung hervorgerufen. Sobald die Wellen das Ufer erreichten, begannen
sie längs des ungefähr 16 m hohen Hügels hinauf zu klettern. An dem Punkte, wo
die Richtung der Wellen wechselte, wurden Ströme in der Erde wahrnehmbar. Auf der
Mitte des Hügels verschwanden diese Ströme, erschienen aber sofort wieder, wenn die
Spitze des Hügels erreicht wurde, um neuerdings zu verschwinden, sobald die Wellen
längs der wagerechten Erdoberfläche weiter wanderten. Es ist hiermit nachgewiesen,
dass die längs der Erdoberfläche sich bewegenden Wellen nur an jenen Punkten Ströme
in der Erde hervorrufen, an welchen sie durch die Formation des Bodens gezwungen
werden, ihre Richtung zu wechseln. Die Richtung des Wellen verlauf es wurde nun, mit
gleichem Erfolge, längs des Verlaufes über die Insel bis zu der am anderen Ende der
Insel auf dem bereits erwähnten Kai liegenden Empfangsstelle verfolgt. Die Höhe der
Wellen konnte nicht während des ganzen Verlaufes gemessen werden, weil zu diesem
Zwecke hoch in die Luft reichende Einrichtungen notwendig gewesen wären, deren
Beschaffung unmöglich war. Alle anderen Messungen wurden jedoch mit grosser
Genauigkeit durchgeführt.
Durch diese Untersuchungen im Verein mit den Messungen der Wellenlänge wurde die
seinerzeit von Fessenden in den „Transaction of the
American Institute of Electrical Engineers vom Jahre 1899“ gegebene Theorie
als vollständig richtig festgestellt, und in gleicher Weise die Frage gelöst, ob die
Wellen von Erdströmen begleitet werden.
Auf Grund der so gewonnenen Werte entwarf Fessenden ein
vollkommen neues System der drahtlosen Telegraphie, dessen charakteristischen
Eigenschaften bereits in D. p. J. 1903, 318, S. 326,
besprochen sind.
Aus den Versuchen mit dem daselbst beschriebenen Wellenanzeiger geht hervor, dass er
nicht nur bedeutend empfindlicher wie ein Fritter ist, sondern auch eine scharfe
Abstimmung ermöglicht. So wurde mit einem derartigen Wellenanzeiger eine Erhöhung
des Resonanzeffektes um 400 v. H. gegenüber den besten mit Frittern erzielten
Ergebnissen erreicht. Durch die Anwendung dieses Wellenanzeigers wird aber auch die
gesamte aufgenommene Energie zur Hervorbringung der Anzeigen nutzbar verwertet. In
dieser Beziehung unterscheidet sich dieser Wellenanzeiger grundsätzlich von allen
anderen Empfängern, bei denen die Anzeige zwar proportional, aber nicht gleich der
höchsten Intensität ist.
Die Wellenanzeiger hat nun inzwischen eine ganz neue, wesentlich verbesserte Form
erhalten, in der Fessenden ihn mit „Barretter“
benannt hat, was etwa mit Wechsler oder Umsetzer verdeutscht werden kann. Dieser
Name wurde von der Eigenschaft dieses Empfängers abgeleitet, eine gegebene Menge von
Hochfrequenzenergie in Gleichstromenergie, welche letztere Form sich als wirksamer
erweist, umzuwandeln.
Bei diesem neuen Empfänger, von dem verschiedene Formen nahezu alle mit gleich guter
Wirkung verwendet wurden, ist eine sehr dünne Flüssigkeitssäule an Stelle des
ursprünglich verwendeten äusserst feinen Platindrahtes verwertet. Bei einer Form
wird ein Diaphragma mit einer äusserst feinen Oeffnung in eine Flüssigkeit so
eingesenkt, dass die beiden Elektroden in unmittelbarer Nähe der Oeffnung sich
befinden. Bei einer anderen Form wird ein sehr dünner Draht in die Flüssigkeit so
eingesenkt, dass er in geringem Abstand von der zweiten Elektrode sich befindet. Die
erstere Form ist in Fig. 6 dargestellt. Dieser
Flüssigkeitswellenanzeiger weist gegenüber dem Wellenanzeiger mit feinem Platindraht
eine Reihe von Vorteilen auf, deren wichtigster der ist, dass er niemals ausbrennen
kann, in dem die Flüssigkeit in Fällen sehr kräftiger Entladungen verdampft. Aus
diesem Grunde braucht derselbe gegen atmosphärische Einwirkungen nicht geschützt
oder in eine metallische Schutzhülle eingeschlossen zu werden. Der zweite
Vorteil ist die grosse Empfindlichkeit dieses Wellenanzeigers, welche annähernd 30
mal grösser ist als die des Platindrahtanzeigers von Fessenden und des Fritters von Solari. Dies
ist durch den Unterschied des Temperaturkoeffizienten von Flüssigkeit gegenüber dem
von Metallen bedingt. Mit demselben Energieaufwande, welcher in dem Platindraht eine
Widerstandsänderung von ungefähr 1 v. H. hervorruft, wird in dem Widerstände der
Flüssigkeit eine solche bis zu 12 v. H. auftreten. Die Einwirkung der Wellen
vermindert hierbei den Widerstand des Barretters, da der Temperaturkoeffizient von
Flüssigkeiten im allgemeinen negativ ist. Diese grosse Widerstandsänderungen
ermöglichen es auch, ein minder empfindliches Empfangsinstrument als ein Telephon,
wie z.B. einen Syphonrekorder zu verwenden und so auch eine schriftliche Wiedergabe
der einlangenden Zeichen zu erreichen.
Textabbildung Bd. 320, S. 78
Fig. 6.
Textabbildung Bd. 320, S. 78
Fig. 7.
Durch die Anwendung eines auf Intensität ansprechenden Wellenanzeigers lässt sich
auch eine viel schärfere Abstimmung der Empfangsstation auf die einlangenden Wellen
durchführen als bei Benutzung eines Fritters. Eine eingehende Untersuchung eines
Empfangsstromkreises mit einer Kapazität von 0,000279 Mikrofarad und einer
Selbstinduktion von 0,039 Millihewey, in welchem ein Barretter als Wellenanzeiger
eingestellt war, ergab, dass sich die durch Resonanz zu erzielende Wirkung um nahezu
das Hundertfache gegenüber jener erhöhte, bei welcher der Empfangskreis ausser
Abstimmung war. Einer der wichtigsten Eigenschaften dieses Wellenanzeigers ist, dass
er stets unterhalb des kritischen Widerstandes zur Wirkung gelangt, wogegen bei
Frittern und ähnlichen Einrichtungen die Wirkung erst oberhalb des kritischen
Widerstandes eintritt.
Eine weitere wichtige Neuerung bezieht sich auf eine Methode, die erzeugten
elektromagnetischen Wellen in periodische Gruppen zu spalten und sie unabhängig von
der Entladungsfrequenz zu machen. Auf diese Weise wird eine doppelte Auswahl
ermöglicht, indem der Empfangskreis nicht nur auf die Wellen, sondern auch auf die
Gruppenfrequenz abgestimmt werden kann. Hierdurch wird die Gefahr der Einwirkung
anderer Wellen bedeutend herabgedrückt, da eine solche eben nur dann stattfinden
kann, wenn die Wellenfrequenz und die Gruppenfrequenz der störenden Wellen mit
den gleichen Frequenzen der eigentlichen Vermittlungswellen übereinstimmt. Dieser
Fall kann aber nur in den seltensten Fällen zufällig eintreten, da durch diese
doppelte Abstimmung, die Zahl der Kombinationen, welche bei der einfachen Abstimmung
auf die Wellenfrequenz nur eine beschränkte ist, nahezu eine unbeschränkte wird und
nach Millionen zählt.
Fig. 7 stellt die zur Erreichung dieses Zieles in der
Praxis bereits mit grossem Erfolge zur Anwendung gelangende Einrichtung schematisch
dar und erscheint die Sende- mit der Empfangsstelle vereint. 1, 2, 3, 4 sind getrennte Luftleiter, die je zu einer Funkenstrecke f1, f2, f3 und f4 und in Abzweigung zu
je einem Ende der Sekundären der Induktorien J1, J2, J3, J4 führen, während deren zweite Enden mit der
zugehörigen zweiten Funkenkugel verbunden sind. Die Primären dieser Induktorien
führen zu einem mechanischen Unterbrecher U, der durch
eine Dynamomaschine M in gleichmässig drehende Bewegung
versetzt wird. Von der Achse dieses Unterbrechers geht ein Draht zur primären
Stromquelle B und von dieser führt wieder ein Draht in
Abzweigungen zu dem zweiten Ende der Primären jeder dieser Induktorien. Die
Anordnung des Unterbrechers ist eine solche, dass die Kontakte für jedes Induktorium
in unmittelbarer Reihenfolge und in sehr kurzen Zwischenzeiten geschlossen werden.
Zu diesem Zwecke wird eine Walze U aus Ebonit oder
sonstigem isolierenden Material mit entsprechend angeordneten Kontakten verwendet,
längs welcher, wie dies aus der Darstellung zu entnehmen, Kontaktfedern schleifen.
Die Kontaktfeder ist hierbei mit der Primären des Induktoriums und der Kontakt über
die Drehachse der Walze mit der Stromquelle verbunden. Die Drehgeschwindigkeit der
Walze muss genau geregelt sein und in einem bestimmten Verhältnis zu der
Drehgeschwindigkeit einer ähnlichen Kontaktwalze K der
Empfangstation stehen. Die von den einzelnen Luftdrähten entsendeten Wellen sind von
verschiedener Periode. Die Empfangskreise, deren Zahl die gleiche ist wie die der
Sendekreise, sind nun auf die Sendekreise so abgestimmt, dass jeder derselben nur
auf die Wellen des zugehörigen Sendekreises anspricht. Dies führt aber noch nicht
zum Empfange, da die Empfangskreise gemeinsam auf den Zeichennehmer wirken und dies
nur unter Zuhilfenahme entsprechender Einrichtungen, die nicht beschrieben sind, nur
dann, wenn die Wellen in der vorher bestimmten Reihenfolge und den festgesetzten
zeitlichen Zwischenräumen einlangen.
Eine weitere Neuerung von Fessenden besteht in einer
Vorrichtung, welche es ermöglicht, aus einer Gleichstromquelle ohne Zuhilfenahme
eines Unterbrechers jede gewünschte Anzahl von Entladungen über die Funkenstrecke in
einer gegebenen Zeit zu erhalten, und diese Anzahl nach Bedarf zu regeln. Hierdurch
wird es auch möglich, eine gleichmässig fortlaufende Ausstrahlung
elektromagnetischer Wellen, wie solche für die Erzielung einer scharfen Resonanz
Bedingung ist, zu erreichen. Es wird hierdurch aber auch möglich, elektrische Wellen
von einer bestimmten Gruppenfrequenz, die bisher zu erzeugen nicht durchführbar war,
zu entsenden und auch eine Abstimmung nicht nur auf die Wellen-, sondern auch auf
die Gruppenfrequenz zu erreichen und so die Geheimhaltung der entsendeten
Nachrichten besser zu sichern, als dies ohne Anwendung dieses Hilfsmittels
erreichbar ist.
Das Neue in der Wellenerzeugungsvorrichtung von Fessenden besteht darin, dass mit Umgehung jedes Induktoriums und jedes
mechanischen oder elektrolytischen Stromunterbrechers der Zeitraum zwischen jeder
Ladung und Entladung über die Funkenstrecke auf jede beliebige untere Grenze
herabgesetzt werden kann.
Die Einrichtung von Fessenden besteht aus einer stets
gleiche Spannung liefernden Gleichstromdynamo oder einer Akkumulatorenbatterie, in deren Stromkreis
ein hoher veränderlicher Widerstand von geringer Selbstinduktion, ein Kondensator
und eine gleichfalls veränderliche Selbstinduktion in Reihe geschaltet sind. Im
Nebenschlusse zur Selbstinduktion und der Kapazität befindet sich eine
Funkenstrecke, deren eine Kugel mit dem Luftdrahte, die andere mit der Erde
verbunden ist. Fig. 8 zeigt die hierbei zur
Anwendung geangende Schaltung. Der Widerstand ist mit R, die Kapazität mit K, die induktanz mit J, die Funkenstrecke mit F
und die Stromquelle mit 5 bezeichnet. Ist die Stromquelle in diesen Kreis
eingeschaltet, so wird der Kondensator geladen und entladetsich, sobald dessen
Potentiale jene Höhe erreicht hat, bei welcher der Widerstand der Funkenstrecke
überwunden wird, über diese. Infolgedessen treten elektrische Schwingungen im Luft-
und Erddrahte auf, die sich wieder in Form von elektromagnetischen Wellen in den
Raum verpflanzen. Durch den eingeschalteten hohen Widerstand vergeht aber immer eine
bestimmte genau begrenzte Zeit, bis der Kondensator auf das Entladungspotentiale
geladen ist und einen neuen Funken auslöst. Die Entladungen folgen sich daher, da
die Verhältnisse des Ladekreises sich in keiner Weise ändern, in ganz bestimmten,
von der Grösse des eingeschalteten induktionsfreien Widerstandes abhängigen,
allerdings nur ganz geringe Bruchteile einer Sekunde betragenden Zwischenzeiten, die
nach Bedarf durch Vergrösserung oder Verringerung des Widerstandes genau
festgestellt werden können.
Textabbildung Bd. 320, S. 79
Fig. 8.
Die Neuerungen an diesem Systeme, welche eine Verschärfung der Abstimmung bezwecken,
können als eine Kombination der Anordnung von Tesla mit
der Einrichtung von Anders Bull zur Erzielung
einer mechanischen Abstimmung angesehen werden und bieten jedenfalls eine ziemlich
weitgehende Garantie gegen das unfreiwillige Abhören der Nachrichten, sind aber kaum
geeignet, die Aufnahme gegen äussere Störungen wirksam zu schützen.
Textabbildung Bd. 320, S. 79
Fig. 9.
Das zuletzt bekannt gewordene Patent von Fessenden
bezieht sich auf die Form des Wellenausstrahlers oder Luftleiters. Während bei allen
anderen Wellenstrahlern und Wellenempfängern die Kapazität an bestimmten Punkten des
Systemes konzentriert ist, wird bei dieser neuen Form des Luftleiters die Kapazität
gleichmässig auf alle Punkte verteilt, wodurch die ausstrahlende Wirkung wesentlich
vergrössert werden soll, und sich auch die entstehenden Wellen immer mehr der Form
einer reinen Sinuswelle nähern, weil hierbei weniger harmonische Wellen erzeugt
werden. Je näher sich die Formen der Wellen der reinen Sinuswelle nähern, desto
genauere Abstimmung lässt sich erzielen, indem die Sinuswelle am besten geeignet
ist, Resonanz hervorzurufen. Zur Erreichung dieses Zweckes wird eine entsprechende
Anzahl Drähte, wie dies Fig. 9 zeigt, zu einem
zylindrischen Käfig geformt, wobei die Enden dieser Drähte durch einen Ring aus
isolierendem Material zusammengehalten werden. Man erhält hierdurch einen
Wellenstrahler von geringem Ohmschen Widerstand und
grosser gleichmässig verteilter Kapazität. Wird nun ein in gleicher Weise
angeordnetes System von Luftdrähten für den Empfang verwendet, so soll es möglich
sein, einlangende Nachrichten ohne Zuhilfenahme eines besonderen Wellenanzeigers
direkt mittels Telephon aufnehmen zu können, da durch die grosse Kapazität, die
Frequenz der Schwingungen so weit herabgedrückt wird, dass ein Telephon denselben zu
folgen vermag.
(Fortsetzung folgt.)